河南搪玻璃蒸馏罐

  • 服务名称: 河南搪玻璃蒸馏罐
  • 服务分类: 搪玻璃设备
  • 公司名称: beat·365(中国)-官方网站
  • 添加时间: 20/03/02
  • 点击次数:  
  • 二 维 码:

    手机浏览

    更方便

产品详情

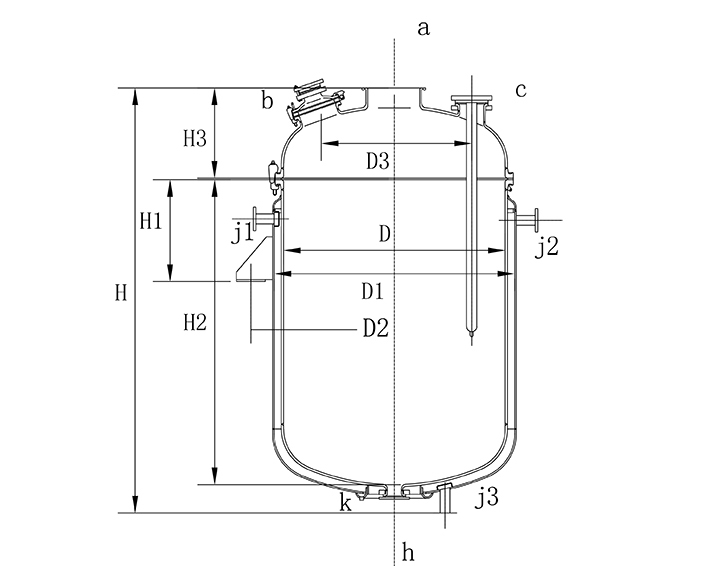
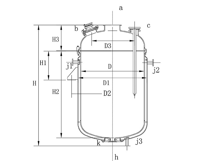
搪玻璃蒸馏罐技术参数值:

型 号

公称容积L

实际容积L

设计压力MPa

换热

面积

设      备            寸 mm

罐体

夹套

D

D1

D2

D3

H1

H2

H3

H

ZL-300

300

369

0.25

0.6

1.75

800

900

1028

560

350

800

390

1280

ZL-500

500

588

0.25

0.6

2.27

900

1000

1130

630

400

1000

415

1504

ZL-1000

1000

1250

0.25

0.6

4.54

1200

1300

1468

840

500

1200

510

1817

ZL-1500

1500

1720

0.25

0.6

5.8

1300

1450

1622

910

500

1400

535

2035

ZL-2000

2000

2280

0.25

0.6

6.42

1600

1750

1962

1120

600

1260

630

1988

ZL-3000

3000

3380

0.25

0.6

9.3

1600

1750

1962

1120

600

1810

630

2475

续表2:

型 号

公称

容积L

实际

容积L

设计压力MPa

换热

面积

管   口   尺  寸(mm

参考

重量

Kg

罐体

夹套

a

b

c

d g

e f

h

j

k

ZL-300

300

369

0.25

0.6

1.75

150

125

65

80

80

80

3-25

1/2

568

ZL-500

500

588

0.25

0.6

2.27

200

150

80

100

80

80

3-32

1/2

778

ZL-1000

1000

1250

0.25

0.6

4.54

300

200

80

100

80

100

3-32

1/2

1439

ZL-1500

1500

1720

0.25

0.6

5.8

300

200

80

100

80

100

3-40

1/2

1908

ZL-2000

2000

2280

0.25

0.6

6.42

400

200

100

125

100

125

3-40

1/2

2510

ZL-3000

3000

3380

0.25

0.6

9.3

400

200

100

125

100

125

3-40

1/2

3196


点击次数:   更新时间:20/03/02 15:07:03   【打印此页】   【关闭
联系我们
beat365中国官方网站

销售部:0533-2889567   13969380660  13287013119

维修部:13864665433    0533-2889567

传  真:0533-2889567 邮  编:255000
邮  箱:zbzhuding@163.com
网  址:https://www.busymom365.com
地址:淄博市张店区柳泉路13号